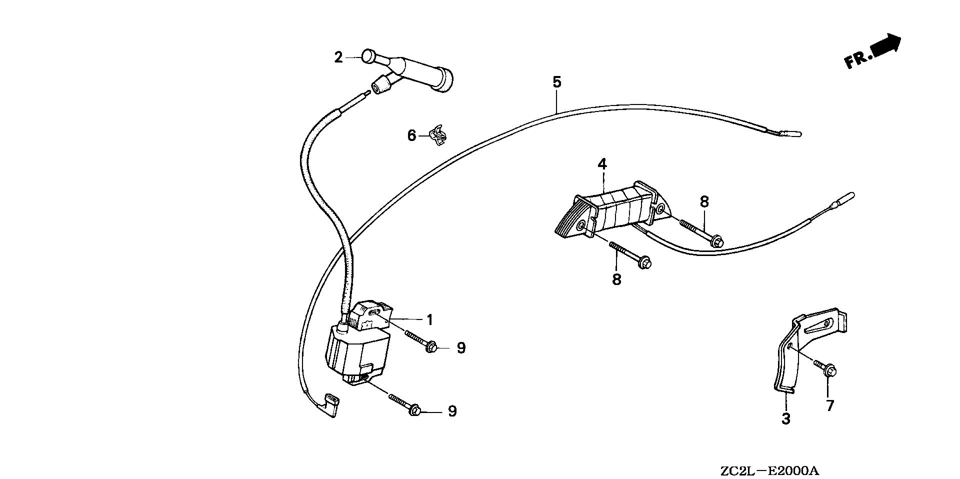
Generators EB EB5000 EB5000XK1 AG/A EA7-3100001-3113257 IGNITION COIL - Canns-Bilco Distributors, Inc.

Ref No
Part Number
Description
Serial Range
Qty
Price

Ref No
1
Part Number
30500-ZE2-023
Description
COIL ASSY., IGNITION
Serial Range
1000001 - 9999999
Qty
Price
$55.44

Ref No
1
Part Number
30500-ZF6-W02
Description
COIL ASSY., IGNITION
Serial Range
1000001 - 9999999
Qty
Price
$55.44

Ref No
2
Part Number
30700-ZE1-013
Description
CAP ASSY., NOISE SUPPRESSOR (NICHIWA Y-EZ RTFM256)
Serial Range
4072597 - 9999999

Ref No
5
Part Number
36101-ZE3-800
Description
WIRE, STOP SWITCH (470MM)
Serial Range
1000001 - 9999999
Qty
Price
$13.00

Ref No
6
Part Number
36103-ZE1-000
Description
HOLDER, STOP SWITCH WIRE
Serial Range
1000001 - 9999999
Qty
Price
$2.40

Ref No
9
Part Number
90015-883-000
Description
BOLT, FLANGE (6X28) (CT200)
Serial Range
1000001 - 9999999
Qty
Price
$3.52