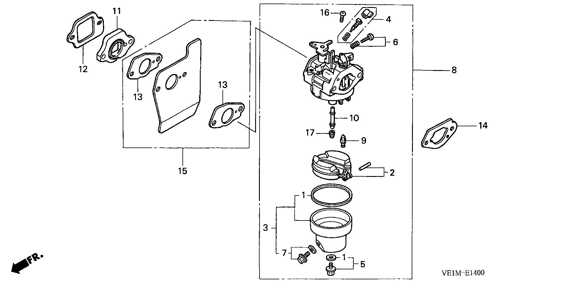
Lawn Mowers HRB HRB216 HRB216 TDA MAAA-1000001-9999999 CARBURETOR - Canns-Bilco Distributors, Inc.

Ref No
Part Number
Description
Serial Range
Qty
Price

Ref No
1
Part Number
16010-883-015
Description
GASKET SET
Serial Range
1000001 - 9999999

Ref No
2
Part Number
16013-ZL1-003
Description
FLOAT SET
Serial Range
1000001 - 9999999
Qty
Price
$32.28

Ref No
3
Part Number
16015-887-782
Description
CHAMBER SET, FLOAT
Serial Range
1000001 - 9999999
Qty
Price
$34.12

Ref No
4
Part Number
16016-ZG0-W00
Description
SCREW SET
Serial Range
1000001 - 9999999
Qty
Price
$12.66

Ref No
5
Part Number
16028-ZK7-S91
Description
SCREW SET
Serial Range
1000001 - 9999999
Qty
Price
$13.54

Ref No
6
Part Number
16029-ZG0-901
Description
SCREW SET (THROTTLE STOP)
Serial Range
1000001 - 9999999
Qty
Price
$11.54

Ref No
7
Part Number
16024-ZE1-811
Description
SCREW SET, DRAIN
Serial Range
1000001 - 9999999
Qty
Price
$10.58

Ref No
8
Part Number
16100-Z0L-013
Description
CARBURETOR ASSY. (BB62W B)
Serial Range
1000001 - 9999999

Ref No
8
Part Number
16100-Z0L-023
Description
CARBURETOR ASSY. (BB62W C)
Serial Range
1000001 - 9999999

Ref No
9
Part Number
16155-ZM0-003
Description
VALVE, FLOAT (CARBURETOR NO.)
Serial Range
1000001 - 9999999
Qty
Price
$30.84

Ref No
10
Part Number
16166-ZM0-003
Description
NOZZLE, MAIN
Serial Range
1000001 - 9999999
Qty
Price
$21.68

Ref No
11
Part Number
16211-ZL8-000
Description
INSULATOR, CARBURETOR
Serial Range
1000001 - 9999999
Qty
Price
$4.32

Ref No
12
Part Number
16212-ZL8-000
Description
GASKET, INSULATOR
Serial Range
1000001 - 9999999
Qty
Price
$7.22

Ref No
13
Part Number
16221-883-800
Description
GASKET, CARBURETOR
Serial Range
1000001 - 9999999

Ref No
14
Part Number
16228-ZL8-000
Description
GASKET, CARBURETOR
Serial Range
1000001 - 9999999

Ref No
15
Part Number
19650-ZM0-000
Description
GUIDE, AIR
Serial Range
1000001 - 9999999
Qty
Price
$9.52

Ref No
16
Part Number
93500-05006-0H
Description
SCREW, PAN (5X6)
Serial Range
1000001 - 9999999
Qty
Price
$0.82

Ref No
17
Part Number
99101-124-0600
Description
JET, MAIN (#60)
Serial Range
1000001 - 9999999
Qty
Price
$12.62

Ref No
17
Part Number
99101-124-0620
Description
JET, MAIN (#62)
Serial Range
1000001 - 9999999
Qty
Price
$11.30

Ref No
17
Part Number
99101-124-0650
Description
JET, MAIN (#65)
Serial Range
1000001 - 9999999
Qty
Price
$12.66