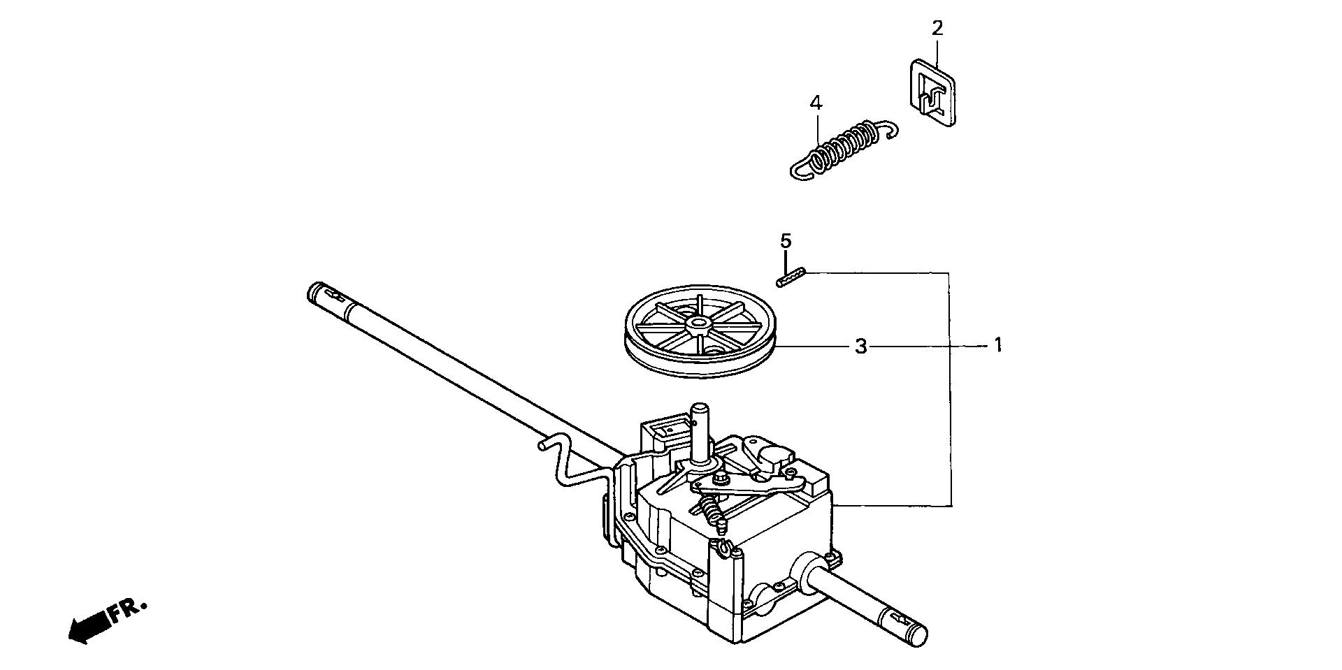
Lawn Mowers HRB HRB216 HRB216 TXA MAAA-1000001-9999999 TRANSMISSION (TDA, TDAA, TXA, TXAA) - Canns-Bilco Distributors, Inc.

Ref No
Part Number
Description
Serial Range
Qty
Price

Ref No
1
Part Number
20001-VG4-H02
Description
TRANSMISSION ASSY.
Serial Range
1000001 - 9999999
Qty
Price
$222.29

Ref No
2
Part Number
21557-VE2-800
Description
PLATE, TENSION SPRING
Serial Range
1000001 - 9999999
Qty
Price
$21.34

Ref No
3
Part Number
22421-VG4-H00
Description
PULLEY, DRIVEN
Serial Range
1000001 - 9999999
Qty
Price
$37.72

Ref No
4
Part Number
24468-VE1-T00
Description
SPRING, WHEEL TENSION
Serial Range
1000001 - 9999999
Qty
Price
$67.14

Ref No
5
Part Number
94305-50362
Description
PIN, SPRING (5X36)
Serial Range
1000001 - 9999999
Qty
Price
$2.72